70以上 J アンカー 218588-アンカーボルト 規格 J
アンカーボルトは、簡単な施工でしっかりと基礎と他の部材を固定できるため、幅広い用途で活用されています。 アンカーボルトの種類 引用元:森鋼材株式会社 基礎ボルト アンカーボルトは、直線状の形をしたタイプや、l型、j型の形状が一般的です。ハンマーを用いて軽くアンカーを叩きながら所定位置まで挿入する。 注意事項 所定の深さより深い場合は施工面まで入れる。 6 アンカー製造者指定の専用打込み棒を使用し、その段部がアンカーの端部に達するまで打ち込む。 注意事項 専用打込み棒の アンカーボルトの打ち方・打ち手順・固定方法 ここでは代表的な金属系アンカーと接着系アンカーの施工方法を解説します。 1アンカーにナットと座金を取り付けて母材へ挿入する。 2芯棒の頭部が本体の頭部に接するまでハンマーで打ち込む。 3
アンカーボルトの施工 位置ズレ 誤った取付け方1 3 匠の一冊オフィシャルブログ 建築かわらばん
アンカーボルト 規格 j
アンカーボルト 規格 j-WAKI J型アンカー 1個 特長テントの設営など、ロープを地面に引っ張って固定する時に使用。 建築金物・建材・塗装内装用品 > 建築金物 > ロープ止め金具 > ロープ止 L型・J型 販売価格 (税別) ¥139~ 税込¥153~ から (4種類の商品があります) WAKI J型アンカー 1個 レビュー ( 2件すべてのレビューを見る) 特長ロープ止め金具です。 建築金物・建材・塗装内装用品 > 建築金物 > ローJIS B 12 構造用両ねじアンカーボルトセット。 SNR400B、SNR490Bの材質に関するすべての JIS規格サイズを製造いたします。 鋼材はもちろん、ナットや座金などの付属品も常に取りそろえています。 JIS B 12に基づく製品については、鋼材ミルシートはもちろん



和気産業 和気産業 J型アンカー 150mm Bk 2 プレミアム あきばお
切削ねじj形アンカーボルト基準寸法表 単位:mm ねじの長さ s 内r寸法 r 戻し寸法 l1 基準寸法 基準寸法 基準寸法 m10 15 10 40 15r 55 m12 175 12 50 r 65 m16 16 70 25r 90 m 25 80 30r 110 m22 25 22 90 35r 1 m24 30 24 100 35r 135 m27 30 27 110 40r 150 m30 35 30 1 45r 165 m33 35 33 140 50r 18023件の「 j型アンカー 」商品から売れ筋のおすすめ商品をピックアップしています。 当日出荷可能商品も多数。 「アンカーボルト m16 ss400」、「j アンカーボルト m12」、「基礎アンカー ボルト」などの商品も取り扱っております。 販売価格 (税別) ¥139~ 税込¥153~ から (4種類の商品があります) WAKI J型アンカー 1個 レビュー ( 2件すべてのレビューを見る) 特長ロープ止め金具です。Anchor bolt / ステッキ型(J型)アンカーボルト フルサト規格ステッキ型アンカーボルト フルサト工業規格にて、ねじ長さ、曲げ長さを規定したアンカーボルト ウィットねじ W1/2~W1″ メートルねじ M12~M24を規定 材質:SS400;
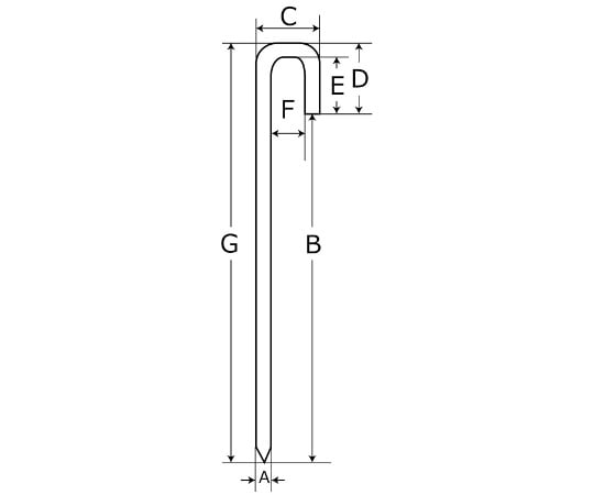
メカニカルアンカーと総称されている。形状・寸法など 多くの種類が市販されているが,そ れらの力学的特性を 十分把握して使用することが肝要である。 22ア ンカーボルトの施工方法による分類 アンカーボルトを用いた定着部は,そ の施工方法,と本社 〒 新潟県三条市西裏館2丁目1025 TEL:02 FAX:02 営業日カレンダー;WAKI J型アンカー テントの設営など、ロープを地面に引っ張って固定する時に使用。 材質 SUS304 寸法F (mm) 21 寸法D (mm) 37 寸法E (mm) 30 寸法C (mm) 33 寸法A (Φmm) 6 建築金物・建材・塗装内装用品 建築金物 ロープ止め金具 ロープ止 L型・J型 1個 ¥3~ 税込¥428~ 翌日出荷 バリエーション一覧へ (4種類の商品があります) 金具 ロープ止め用 J型 (64件すべてのレビューを見る) カタ



Uncjg Sus 28 440 ステンレス アンカーj型 水本機械製作所製 sunco Misumi Vona ミスミ



Gb799 地面に取り付けられた接続フランジベースプレートj字型アンカーボルト Buy Jアンカーボルト 炭素鋼アンカーjボルト Jタイプ アンカーボルト Product On Alibaba Com



ジャパンライフ株式会社 アンカーボルト



J Tr3867 Jトリオン おねじアンカー 大阪ファスニング のことならonline Jp オンライン



イーグルアンカー eg seg 50個 Susイーグルアンカー 建築物用金具 Seg 10 ステンレス 303 304 材料 部品 Xm7等 生地 または標準 01 U002a 50個 ネジショップヤフー店 送料j無料



Bk 292 J型アンカー 1個 Waki 通販サイトmonotaro



Jアンカー をセットするよ 建築バラエティー Youtube



Waki J型アンカー 6x0mm



M10 アンカーボルト ボルト ネジ Diy 工具の人気商品 通販 価格比較 価格 Com



アンカーボルト Tekla User Assistance



ベースアンカー長さの非破壊検査 建築 土木構造物の調査 診断といえば株式会社ジャスト



和気産業 和気産業 J型アンカー 150mm Bk 2 プレミアム あきばお



Jはアンカー ボルトの炭素鋼電流を通されたlタイプ基礎アンカー ボルトをタイプする 中国 Jのフック ボルト ナットおよび洗濯機が付いているj のボルト



ステッキ型 j型 アンカーボルト Anchor Bolt Materials 取扱品 フルサト工業株式会社



Mwb S用フックボルトサイズについて ワンポイント情報 カネソウ株式会社 建設用金属製品の総合メーカー



j型基礎ボルト アンカー各種 商品詳細ページ 工具 ネジの卸なら 久原商事



テザック 耐震jケーブル 匠の一冊 公式通販サイト



人工芝や防草シートを地面に固定するピンです 防草シート用 固定ピン J字型 0本セット アンカーピン 営業 平米用 庭 送料無料 除草シート 押さえピン 人工芝 マルチ押さえ



アンカーボルト Tekla User Assistance



耐震jケーブル 株式会社サトウ



鉄骨q A



アンカーボルト ボルト ネジ ネジ ボルトの人気商品 通販 価格比較 価格 Com



防草シート用 固定ピン J字型 0本セット アンカーピン 送料無料 マルチ押さえ 庭 人工芝 除草シート 押さえピン コ字型 永遠の定番モデル



1



防草シート用 固定ピン J字型 0本セット アンカーピン 送料無料 マルチ押さえ 庭 人工芝 除草シート 押さえピン コ字型 永遠の定番モデル



Jアンカー 施工方法



女性が喜ぶ J型アンカー



J型アンカーボルト ツルタボルト株式会社



和気産業 Waki J型アンカー Bk 292 6 300 打ち込み式 ロープ止め金具 4本組 アンカー テント 区画ロープ ネット固定 シート固定 金属 売買されたオークション情報 Yahooの商品情報をアーカイブ公開 オークファン Aucfan Com



J型アンカー Bk 190 和気産業 ロープ部材 6 150mm ホームセンター通販はdcmオンライン



63 1493 97 J型アンカー 6 250mm Bk 291 Axel アズワン



ステンレス鋼フックアンカーボルト Jタイプlタイプフックボルト Buy ステンレス鋼フックアンカーボルト ステンレス鋼 316 L タイプフックボルト Ss304 316 J タイプフックボルト Product On Alibaba Com



アンカーボルト Tekla User Assistance



ユニクロ アンカーボルト こねじ ボルト diy pro 株式会社ダイドーハント



高強度j型アンカーボルトm30 Buy J型アンカーボルトm30 J型アンカーボルト Jアンカーボルト Product On Alibaba Com



j型アンカー bk 193 sus304 6x300mm 木材 建材 金物 ホームセンターコーナンの通販サイト



マシンインストレーションシステム用ヘリカルアンカー 株式会社ナベヤ



1



j形基礎ボルト Jis B 1178



ステンレス アンカーj型 Qj 27 440 株式会社 水本機械製作所



Mh4x週刊少年ジャンプ 伝説jアンカー 直天堂のカステラ



ホーク ストライクアンカー t 銅 Cu 生地 または標準 アンカーボルト 銅 Cu 生地 または標準 金属アンカー ケー エフ シー ネジショップ



J型アンカー 6 300の通販 ホームセンターナフコ 公式通販



j型アンカー Bk 2 ロープ部材 6x150 ホームセンター通販はdcmオンライン



ブラックフィニッシュjタイプアンカーボルトj字型ファスナーm12フックボルト Buy フックボルト Jフックボルト 鋼j フックアンカー Product On Alibaba Com



アンカーボルトの施工 位置ズレ 誤った取付け方1 3 匠の一冊オフィシャルブログ 建築かわらばん



Pcje2xcsbcr1qm



ステンレスアンカーボルト L型 J型



和気産業 Waki J型アンカー 6 300mm Bk 292 Webby Shop 通販 Yahoo ショッピング



和気産業 j型アンカー Bk 292 6x300 ホームセンターアント 通販 Yahoo ショッピング



ステッキ型 j型 アンカーボルト Anchor Bolt Materials 取扱品 フルサト工業株式会社



テザック 耐震jケーブル ホールダウン金物 建築金物 基礎金物 電動工具の道具道楽



楽天市場 Mm ステンレス Sus304 アンカーj型 285mm Qj 10 285 村の鍛冶屋



Amazon Waki J型アンカー 6x150mm Bk 190 ボルトアンカー 産業 研究開発用品 通販



防草シート用 固定ピン J字型 0本セット アンカーピン 送料無料 マルチ押さえ 庭 人工芝 除草シート 押さえピン コ字型 永遠の定番モデル



Cqzsft Olrdwim



腰折れ型 L型 J型



テザック 耐震jケーブル M16用



jトリオン あと施工アンカー製造メーカー 株式会社大阪ファスニング



防草シート用 固定ピン 各種サンプル J字型アンカー1本 U字型アンカー1本 固定釘1本 全国送料無料 スマートレター シート用固定ピン シート抑え クラピアと雑草対策の専門店 ミドリス本店



ステンレス アンカーj型 株式会社 水本機械製作所



耐震jケーブル bxカネシン



ジャパンライフ株式会社 アンカーボルト



和気産業 Waki J型アンカー Bk 292 6 300 打ち込み式 ロープ止め金具 4本組 アンカー テント 区画ロープ ネット固定 シート固定 金属 売買されたオークション情報 Yahooの商品情報をアーカイブ公開 オークファン Aucfan Com



電流を通された鋼鉄lボルト Jのボルト U字型ボルトのホックのアンカー ボルトの基礎ボルト 中国 アンカー ボルト L字型アンカー ボルト



Jはアンカー ボルトの炭素鋼電流を通されたlタイプ基礎アンカー ボルトをタイプする 中国 Jのフック ボルト ナットおよび洗濯機が付いているj のボルト



Bk 291 J型アンカー 1個 Waki 通販サイトmonotaro



アスクル ファスニング J 鉄 プラグアンカー Pa 50 U000y 1箱 25個 直送品 通販 Askul 公式



Amazon Co Jp 防草シート用 固定ピン 15cm J字型アンカー 人工芝 除草シート 押さえピン コ字型 マルチ押さえ 庭 50本 Diy 工具 ガーデン



楽天市場 和気産業 Waki J型アンカー 6 300mm Bk 292 Mono



ジャパンライフ株式会社 アンカーボルト



防草シート用 固定ピン J字型 0本セット アンカーピン 送料無料 マルチ押さえ 庭 人工芝 除草シート 押さえピン コ字型 永遠の定番モデル



Amazon Waki J型アンカー 6x150mm Bk 190 ボルトアンカー 産業 研究開発用品 通販



ステンレス アンカーj型 水本機械製作所製 sunco Misumi Vona ミスミ



ジャパンライフ株式会社 アンカーボルト



Waki J型アンカー 6x0mm



和気産業 Waki J型アンカー 6 150mm Bk 2 Cocoatta 通販 Yahoo ショッピング



j型アンカーボルト 基礎用部材 製品 商品情報 コンドーテック株式会社



j型アンカーボルト 基礎用部材 製品 商品情報 コンドーテック株式会社



63 1501 73 ステンレス J型アンカー 6 300 Bk 193 Axel アズワン



アンカーボルト L型 J型



楽天市場 Mm 水本機械 ステンレス アンカー J型 ネジ径m27 全長440mm Qj 28 440 六角ナット1個 丸ワッシャー1個付 岩内金物店楽天市場店



ステンレス金具 アンカーj型 1個価格 大工道具 金物の専門通販アルデ



アスクル ファスニング J 鉄 ボルトインアンカー Mbaタイプ Mba 1255 U000a 1箱 50個 直送品 通販 Askul 公式



アスクル ファスニング J ステンレス オールアンカー Stタイプ St 4 U002a00t 1箱 100個 直送品 通販 Askul 公式



アンカーボルト Tekla User Assistance



アンカーボルト J L タイプアンカーボルトプレーンカラー 中国 L アンカーボルト J アンカーボルト 基礎アンカーボルト 基礎ボルト アンカー ボルトファクトリ アンカー ファスナー アンカー アンカーボルト アイボルト 六角ボルト 拡張ボルト



ステンレスアンカーボルト L型 J型



アンカーボルト加工図面 吉川商工



ステンレススチール J 形 ナット付きフックボルト 中国 ファスナー ボルトとナット ボルト アンカーボルト 基礎ボルト L ボルト アンカー ねじ ねじ ハードウェア ハンドツール ナット 自動パーツ ネイル



Bk 192 J型アンカー 1個 Waki 通販サイトmonotaro



カスタムフック ボルト使用できるm12 M16 M24のアンカー ボルトjのタイプlタイプボルト 中国 価格jのボルト M25 Jのボルト



和気産業 Waki J型アンカー Bk 292 6 300 打ち込み式 ロープ止め金具 4本組 アンカー テント 区画ロープ ネット固定 シート固定 金属 売買されたオークション情報 Yahooの商品情報をアーカイブ公開 オークファン Aucfan Com



溶融亜鉛メッキlアンカーボルトjアンカーボルト Buy ホットディップ亜鉛メッキl型アンカーボルトアンカーボルトl L型アンカーボルト アンカーボルトシステムとの化学 Product On Alibaba Com



M24アンカーボルトjタイプlタイプフックボルト スクエアナット付き Buy J Tpyeアンカーボルト アンカーボルト 四角ナット Product On Alibaba Com



レポート アンカーボルトについて



j型アンカーボルト 基礎用部材 製品 商品情報 コンドーテック株式会社



Bk 2 J型アンカー 1個 Waki 通販サイトmonotaro



耐震jケーブル 水上 Mizukami 制震金物 火打金物 通販モノタロウ



Bk 192 J型アンカー 和気産業 Misumi Vona ミスミ



楽天市場 J型アンカーボルト 1p 16 600 10本 Diy リノベーションズ



ケミカルアンカー



多様な ファスニングjアンカーボルトsusトルコンアンカーstcw 1212u002a箱 25個 直送品 アンカーボルト Www Thjodfelagid Is



G2160aliljtoxm
コメント
コメントを投稿